مقياس تدفق موايع
Flowmeter - Débitmètre

مقياس تدفق الموائع

 

إن معرفة كمية المائع المارة عبر أنبوب أو قناة أو أي منشأة أخرى هي من أهم المعلومات التي يجب أن يعرفها المهندس بالنسبة إلى المشروعات المائية خصوصاً والمشروعات ذات الصلة بالموائع، مثل النفط والغاز عموماً سواء أكان في مرحلة التصميم أم الاستثمار، إذ لا يمكن تصميم شبكة إمداد مياه شرب أو ري من دون معرفة كمية المياه الواجب توفيرها. ولا يمكن تصميم خط لنقل النفط أو الغاز دون معرفة كمية النفط أو الغاز الواجب إمراره. كما أنه لا يمكن توزيع مياه الشرب والري على الأحياء أو الحقول بكميات محددة من دون أداة أو وسيلة تقيس ذلك.

مقياس التدفق أو التصريف flow meter هو الأداة أو الوسيلة التي تمكن من قياس كمية المائع المارة خلال واحدة الزمن عبر وسط معين. ويمكن أن يكون الوسط أنبوباً أو قناة أو نهراً أو مفرغ سد أو مضخة أو عنفة.

ولا يختلف مبدأ قياس التدفق بتغير نوع المائع، لأن معظم مبادئ القياس وأساليبه تُدخل تأثير كتلة المائع النوعية ونوعه ولزوجته.

لمحة تاريخية

لم يبتكر الإنسان أي وسيلة قياس فعلية للتدفقات إلا بعد أن أوجد العالم السويسري دانيال برنوللي D.Bernoulliت(1700-1782) معادلته الشهيرة التي تدعى أيضاً معادلة الطاقة energy equation، والتي شكلت الأساس النظري لتطوير طرائق قياس التدفقات. وفي فرنسا قام المهندس هنري بيتو عام 1730 بتصميم أنبوب زجاجي لقياس سرعة الجريان في نهر السين. ثم بالاعتماد على معادلة برنوللي Bernoulli equation استخدمت الهدارات weirs بأنواعها كافة لقياس كمية المياه المتدفقة في الأقنية. كما قام المهندس الإيطالي فنتوري Venturi بالاعتماد على المعادلة نفسها بتصميم أداة لقياس التصاريف في الأنابيب، وسميت هذه الأداة فيما بعد بأنبوب فنتوري.

وكان المهندس ولتمَن Waltman أول من قدَّم أداة لقياس التدفقات المائية لا تعتمد على معادلة برنوللي، حيث صمّم دولاباً مزوداً بريش يدور عند مرور السائل خلاله، وبمعرفة عدد دورات الدولاب يتم معرفة كمية التصريف. وبعد ذلك اقتصر التركيز في تطوير أجهزة قياس التدفق على رفع دقة هذه الأجهزة، ولكن المبدأ كان يعتمد دوماً على معادلة برنوللي أو مبدأ جهاز ولتمَن.

وقد حدث تطور كبير في نهاية القرن العشرين عندما تم اختراع مقاييس التدفق باستخدام الأمواج فوق الصوتية ultrasonic flow meter، التي تمكن من قياس كمية السائل المتدفقة في الأنبوب دون الحاجة لوضع أي عنصر داخل الجريان، وإنما تثبيت حساسات sensors على الأنبوب من الخارج.

أنواع المقاييس ومبادئ عملها

توجد ثلاث طرائق رئيسة مختلفة المبدأ لقياس التدفق عبر مقطع أنبوب أو قناة. وهذه الطرائق هي الآتية:

- الطريقة الحجمية:

يتم قياس حجم السائل المار في الأنبوب أو القناة إما عن طريق إملاء وعاء معروف الحجم؛ وإما باستخدام عداد سائل. وفي أثناء قياس حجم السائل يتم حساب الزمن اللازم لمرور هذا الحجم. فإذا كان حجم السائل المار هو v (m3)، وأن الزمن هو T(sec)، فإن التدفق المار Q (m2/sec) هو:

والعداد هو أداة تستخدم لقياس كمية السائل المارة خلاله. ويتألف العداد من الجسم الخارجي، الذي يحتوي في داخله مجموعة من الأدوات، تدار في أثناء مرور السائل عبرها. ويجري تركيب العداد على الأنبوب المراد قياس كمية السائل المارة عبره.

توجد أنواع كثيرة لعدادات المياه[ر: عداد المياه]، وهي تصنف حسب مبدأ العمل إلى:

 
 
 

 

الشكل (1-أ) مبدأ عمل عداد ولتمن

 

 

الشكل (1-ب) صورة لعداد ولتمن

 

1- عدادات حجمية.

2- عدادات السرعة: وهي أداة تركب داخل جسم مغلق. وتتكون من أجزاء متحركة تدار مباشرة بسرعة تدفق المياه. والأجزاء المتحركة هي دولاب يدور عند مرور المياه فيه، ويرتبط بمجموعة من المسننات، التي تتصل بدورها مع مؤشرة تقوم بجمع حجم التدفق. وتوجد لعداد السرعة عدة نماذج، هي:

أ- عداد ولتمَن: هو جسم أنبوبي، يحتوي على دولاب قابل للدوران حول جذع ينطبق على محور الأنبوب. ويتألف الدولاب من مجموعة شفرات حلزونية الشكل، لها شكل انسيابي. ويرتبط الدولاب عن طريق مجموعة مسننات مع المؤشرة. ويتناسب عدد دورات الدولاب مع سرعة المياه المارة في العداد. ويبين الشكل (1) عداد ولتمَن.

ب - العداد أحادي القاذف: هو عداد سرعة، يتكون من دولاب توربيني، يدار بحركة المياه. ويدور هذا الدولاب حول محور عمودي على اتجاه تدفق المياه. وسمي أحادي القاذف؛ لأن التيار المائي يصطدم بالدولاب من مكان واحد على المحيط الخارجي للدولاب.

ج- العداد متعدد القواذف: يشبه العداد أحادي القاذف، والفرق الوحيد هو أن التيار المائي قبل أن يصطدم بالدولاب، يدخل إلى حجرة تحتوي على عدة ثقوب على شكل قواذف. ومن هذه القواذف تخرج التيارات المائية، وتصطدم بالدولاب في عدة أمكنة على المحيط، تؤدي إلى تدويره.

- الطريقة التكاملية

في هذه الطريقة يتم قياس سرعات الجريان عبر مقطع الأنبوب أو القناة في عدد من النقاط. فإذا كانت قيمة سرعة الجريان هي u عند شريحة صغيرة مساحتها dA من مقطع الجريان، فإن التدفق المار عبر المقطع هو:

ولكن ما يتم عملياً هو إنجاز التكامل السابق بصورة عددية أو تخطيطية. حيث ترسم خطوط توزع السرعة عبر المقطع، كما هو مبين في الشكل (2)، وتحسب المساحات المحصورة بين كل خطين متجاورين. ويتم حساب التصريف المار بين كل خطين بضرب المساحة المحصورة بين هذين الخطين بقيمة السرعة الوسطية للجريان بينهما. ولحساب التصريف الكلي عبر المقطع يتم جمع التصاريف الجزئية بين كل خطين متجاورين.

-أ-

- ب -

الشكل (2-أ) منحنيات توزع سرعة الجريان عبر نهر

الشكل (2-ب) منحنيات توزع سرعة الجريان عبر قناة

- الطريقة المباشرة

يتم قياس التدفق عبر مقطع معين بشكل مباشر عن طريق وسيلة إظهار، أو بتطبيق المعادلات. وهناك عدة طرائق لقياس التدفقات، تعتمد على مبادئ وأسس مختلفة، منها ما يأتي:

1- الطرق التي تعتمد على معادلة الطاقة: حيث يتم استخدام أجهزة أو أدوات، تعتمد في حساب التدفق على تطبيق معادلة الطاقة. ومن هذه الأجهزة:

 
 

الشكل (3) جهاز فنتوري

 
 

الشكل (4) فتحات الأنابيب

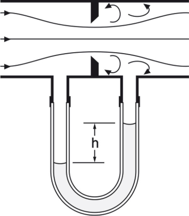
أ- جهاز فنتوري: يتألف هذا الجهاز من أنبوب يتغير مقطعه تدريجياً مع اتجاه الجريان إلى أن يصل إلى قيمة صغرى، ثم يتوسع بالتدريج حتى يأخذ من جديد قيمته الأولى، كما في الشكل (3). وتنسب تسمية هذا الجهاز البسيط إلى الإيطالي فنتوري Venturi الذي قدّمه عام 1791، ويستعمل لقياس التدفق المار في أنبوب ما. ويُصادف كثيراً في محطات ضخ مياه الري والشرب، وكذلك في شبكات الأنابيب، إذ يوضع في طريق الجريان بشكل يمر منه كامل التدفق المراد قياسه في هذا الأنبوب. حيث يؤدي مرور السائل في الأنبوب المتضيق إلى تسارعه في اتجاه الجريان، مما يؤدي إلى حصول هبوط في الضغط. وحسب معادلة الطاقة. فإن هناك علاقة بين معدل الجريان وبين هبوط الضغط ومن ثم يمكن تحديد مقدار التدفق المار في الأنبوب. ويمكن قياس فرق الضغط المتشكل عند المقطع المتضيق وقبله باستخدام مانومتر يوضع في داخله سائل ذو كتلة نوعية معروفة. ويحسب التدفق المار في جهاز فنتوري من العلاقة:

حيث إن:

- Q: التدفق المار في الأنبوب (m3/s).

- h: فرق الارتفاع في سائل المانومتر (m).

- K: ثابت يتعلق بالكتلة النوعية للسائل المار وسائل المانومتر ونسبة قطر المقطع المتضيق إلى قطر الأنبوب قبل التضيق.

ب - فتحات الأنابيب: يعتمد مبدأ عمل فنتوري المبين في الفقرة السابقة على تغير مقطع الأنبوب المتضيق، بحيث يكون مقطع الجريان عند العنق أصغر منه عند مدخل الأنبوب المتضيق. يمكن الحصول على نتيجة مشابهة بتركيب صفيحة تحتوي على فتحة قطرها أصغر من القطر الداخلي للأنبوب، كما هو مبين في الشكل (4). تعد هذه الطريقة أبسط وأقل كلفة من أنبوب فنتوري، وتؤدي الغرض نفسه، إلا أن ذلك يكون على حساب فاقد الاحتكاك. ويمكن حساب التصريف النظري من العلاقة السابقة نفسها، غير أن التصريف الفعلي يكون أقل من ذلك بكثير، لأن فاقد الاحتكاك هنا يكون كبيراً.

ج- الهدّارات: الهدّار هو فتحة كبيرة ليس لها حرف علوي، ويجري الماء من فوقها بتأثير الضاغط المتشكل أمامها. والهدارات منشآت مائية مهمة، تستعمل لأغراض متعددة، منها قياس غزارة الجريان المارة في الأقنية. وهي تستخدم كثيراً في مشروعات شبكات الري والصرف والسدود ومحطات الضخ، وفي مختلف المشروعات المائية الأخرى. ولها أشكال عديدة منها عريض العتبة، ورقيق الحافة المستطيل كما هو موضح في الشكل (5)، ورقيق الحافة المثلثي كما في الشكل (6). ويحسب التدفق المار عبر الهدار المستطيل رقيق الحافة من العلاقة:

حيث إن:

- Q: التدفق المار(m3 /s) .

- h: الضاغط الهندسي (m).

- b: عرض الهدار.

- Cd: معامل التصريف.

أما التدفق المار عبر الهدار المثلثي رقيق الحافة ذي الرأس القائم فيحسب من العلاقة:

الشكل (5) منظر عام لهدار مستطيل رقيق الحافة

الشكل (6) منظر عام لهدار مثلثي رقيق الحافة

2- قياس التدفق باستخدام الأمواج فوق الصوتية: تستخدم تقنيات صوتية في قياس التدفقات. وهذه التقنية تعتمد على قياس الفترة الزمنية اللازمة لتقدم موجة صوتية بين قطعتين الكترونيتين تشكلان معاً عداد التدفق، كما في الشكل (7). تؤدي إحدى القطع دور المصدر الصوتي بينما تقوم القطعة الأخرى باستقبال هذه الموجة الصوتية بعد عبورها مسافة معروفة ضمن الوسط المدروس. من المعلوم أن زمن الانتقال اللازم لموجة صوتية عبر مسافة معلومة، يكون مساوياً جداء سرعة الصوت في الوسط المدروس بالمسافة المقطوعة، وذلك عند خلو الوسط المدروس من أي جريانات. في حين يتغير زمن انتقال هذه الموجة على نحو يتناسب مع التدفق الموجود. يكون الفرق بين الزمنين (سائل ساكن وسائل متحرك) مرتبطاً مباشرةً بظاهرة دوبلر، مما يمكن المستخدم من تحديد سرعة التدفق المقاسة على نحو سهل وسريع باستخدام معادلات دوبلر. وتتميز هذه العدادات بسهولة التركيب وعدم وجود فواقد هدروليكية تنتج من استخدامها. كما يمكن استخدامها مع السوائل الخطرة التي يتوجب تجنب وجود فتحات في أنابيبها وذلك لتخفيض احتمالات التسرب، حيث تركب على الأنبوب من الخارج، كما هو مبين في الشكل (8). وقليلاً ما تتأثر جودة القياسات بتغيرات كثافة السائل المتدفق أو حرارته أو ناقليته الكهربائية أو الحرارية.

الشكل (7) مبدأ عمل مقياس التدفق باستخدام الأمواج فوق الصوتية

الشكل (8) صورة لمقياس التدفق باستخدام الأمواج فوق الصوتية مع جهاز إظهار القياس

استخدامات مقاييس التدفق

لمقاييس التدفق استخدامات عديدة. فهي تركب في جميع مراكز إنتاج المياه من آبار ومحطات ضخ لتحديد كمية التدفق، كما تركب في مراكز الضخ الرئيسة في حقول النفط والغاز. وفي مفرغات السدود يجري أيضاً تركيب هذه الأجهزة لتقدير كمية المياه الخارجة من المفرغ. تركب أيضاً أجهزة قياس التدفق على مستوى الحقول الزراعية لإمكانية توزيع مياه الري على المقاسم الزراعية بالمقنن المطلوب.

وقد ُبدئ اليوم باستخدام مقاييس التدفق طريقةً لإدارة شبكات مياه الشرب من أجل ضبط التسربات في الشبكات؛ حيث يتم تركيب مقياس تدفق عند كل نقطة تفرع من الشبكة. وبمقارنة مجموع التدفقات عند نقاط التفرع من الشبكة مع التدفق الكلي الداخل إلى الشبكة، يمكن رصد المناطق التي تستهلك كميات كبيرة من المياه والتي يمكن أن تعزى إلى حدوث تسربات. وبعد ذلك يتم التحري عن سبب حدوثها.

أمجد زينو

الموضوعات ذات الصلة:

الري في الزراعة ـ عداد المياه ـ الغاز (خطوط نقل ـ) ـ الصمامات الهدروليكية.

مراجع للاستزادة:

ـ وائل معلا، أمجد زينو، مبادئ الهيدروليك الهندسي (منشورات جامعة دمشق 2005).

ـ وائل معلا، أمجد زينو، السعدي، الجريان ذو السطح الحر (منشورات جامعة دمشق 2002).

- ANDREW CHADWICK & JOHN MORFETT, Hydraulics in Civil and Enviromental Engineering (E & Fn Spon. 1993).

- ROBERT W.FOX & ALAN T. MCDONALD. Introduction to Fluid Mechanics (John Wiley & Sons, INC.1994).

 


- التصنيف : الهندسة - المجلد : المجلد التاسع عشر، طبعة 2007، دمشق - رقم الصفحة ضمن المجلد : 295 مشاركة :

متنوع

بحث ضمن الموسوعة